
12月25日晚间,四川证监局公布对川财证券有限株连公司聘任出具警示函行政监管圭表的决定。

经查,川财证券存在以下问题:
一是公司里面董事东谈主数占董事东谈主数1/5以上,但孤独董事东谈主数少于董事东谈主数的1/4;鼓舞中国华电集团产融控股有限公司推荐的监事向上监事会成员的1/3。
二是公司董事、监事的选举未聘任蓄积投票轨制。
三是公司未建设董事、监事绩效捕快与薪酬责罚轨制。
因“两会”成就违纪遭监管点名,这在以业务类罚单为主的券业还有点“落索”。
需眷注的是,连年来,川财证券还因个别债券承销业务尽调不充分、钞票证券化形式存续期责罚不到位等问题,数次收到四川证监局的监管函,泄露其内控、风控的有用性不及等随意。时任副总裁吴琼,时任总裁助理、钞票责罚部总司理王海阳,固定收益部时任总司理安健,时任固定收益部投资司理赵彤等责罚东谈主员,曾经被监管处罚。

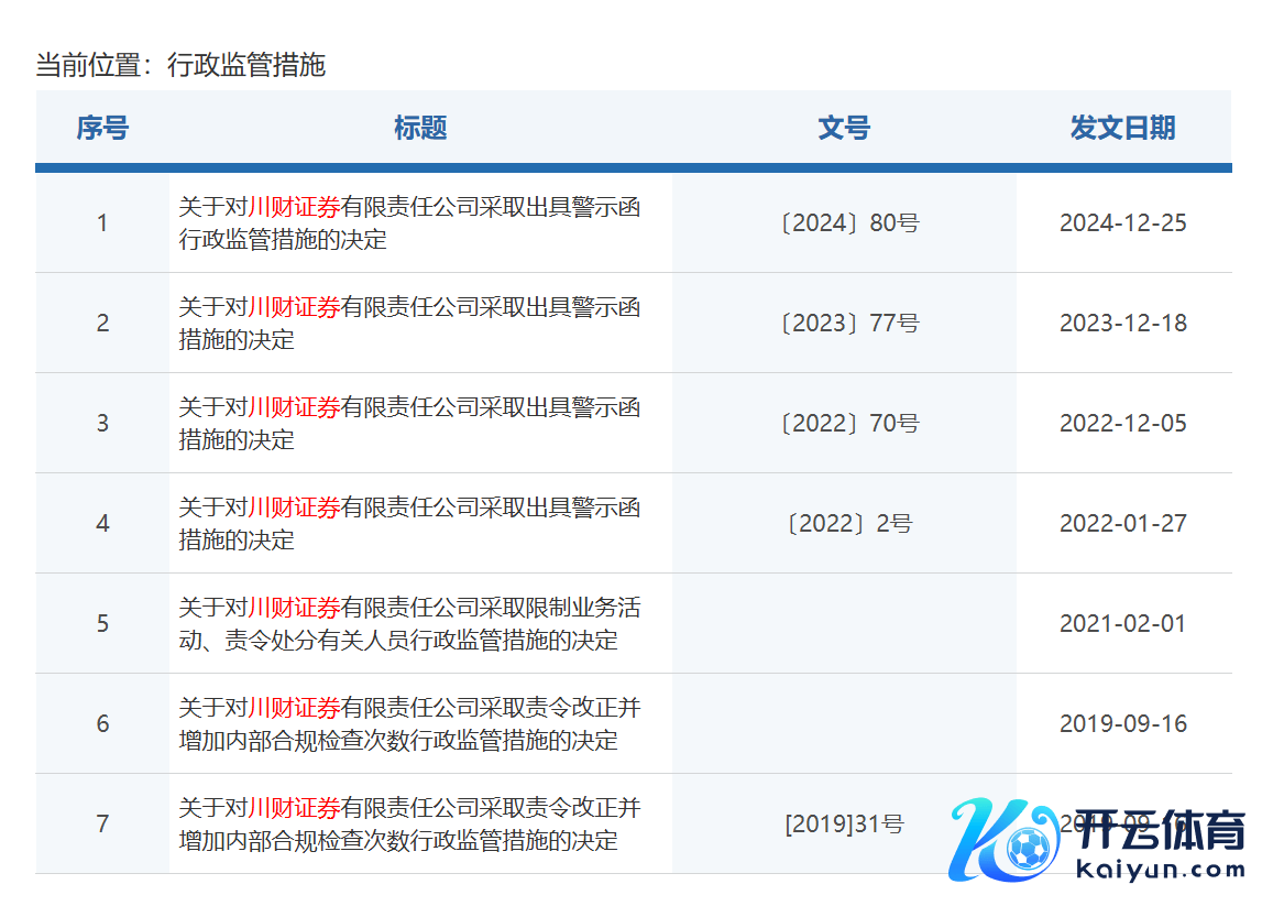
图源:四川证监局官网截图
公开贵府炫耀,川财证券前身为川财证券经纪有限公司,成立于1997年9月,现在注册本钱10亿元。
川财证券官网股权结构图炫耀,公司前三大鼓舞为中国华电集团本钱控股有限公司、四川省国有钞票决议投资责罚有限株连公司、四川省水电投资决议集团有限公司,握股比例分辩为41.81%、39%、11%。
公开信息炫耀,川财证券的责罚层连年来变动每每。
2023年11月,吴琼出任董事长;2023年9月,王刚任董事会通告;2022年11月,蒲杰任副总裁,不绝兼任财务总监;2021年9月,原万联证券副总崔秀红加盟川财证券,任总司理。
值得一提的是,近三年,川财证券董事(不包括孤独董事)合座薪酬波动幅度较大。
2021年,公司董事年度实践披发薪酬为39.4万元。而2022年和2023年,该部分薪酬跃升至百万级,分辩为234.8万元、186.8万元。
事迹方面,连年来,川财证券推崇合座略有向好。
2021年,公司扭亏为盈,曩昔罢了交易收入2.81亿元,较上年同时下滑14.91%;净利润为52.98万元,较上年翻倍。2022年和2023年,公司交易收入分辩为2.64亿元、3.53亿元;净利润分辩为1016.18万元、2451.5万元。

起原:读创财经九游体育娱乐网
